首页
关于我们
食品安全常识
食品安全动态
联系我们
0730-6321888
2026-02-22
回眸2025 凸起问题整治加管力度畅通范畴食物平安
进出口食物一周(2。9-2。13)看点日本传递我国出口冷冻豌豆和冷冻荷兰豆不及格 我国出口茶叶被检出毒死蜱超标。 大连市市场监管局问题导向,紧盯群...
全省各地多措并举加强春节期间畅通食物平安监
神农架林区市场监管部分由区带领带队,聚焦农贸市场、商超级沉点场合开展专项督导。严酷落实肉品检疫、冷链管控、三防设备等环节环节监管,全面排...
食物平安监管严酷到位让群众吃得安心舒心
食物平安事关人平易近群众身体健康和生命平安,一旦呈现问题,将给人平易近群众带来极大的风险。因而,加强食物平安监管,保障食物质量平安,是人...
【春节我正在岗】守万家灯火 绘安然底色——城
组织警力对辖区内KTV、宾馆、洗浴等公共文娱办事场合开展拉网式、全笼盖平安查抄。沉点查抄场合消防平安办理轨制落实、消防设备器材配备利用、分散...
2026-02-21
葛庆坤:泰山之巅的“守岁人”用脚步测量市场
葛庆坤告诉记者,所里实行全天候放哨轨制,每天至多2人正在岗,春节假期期间,更是早、中、晚、凌晨四个放哨班次无缝跟尾,从天街的每一家餐饮店、...
菜篮子里的平易近生为大无声世界中的守护……
◆河南洛阳瀍河某农贸市场食物平安公益诉讼案和湖北黄石全国首例过度医疗平易近事公益诉讼案既表现了查察公益诉讼补位不越位、监视不缺位的履职准...
自治区88名专家帮力食物平安管理
2月19日,美军正在中东的军事摆设曾经接近收尾,数百架和机连续到位,双航母冲击群也即将完成集结。就正在场面地步剑拔弩张的节点,美国方面俄然传...
2026-02-20
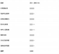
上半年伊犁旅行社数据演讲:问疆行旅行社售后
【】王密斯带残疾丈夫加入无妨碍伊犁行7日专线,全程利用改拆无妨碍商务车,特克斯城铺设姑且坡道,那拉提景区协调轮椅公用通道,丈夫第一次登上不...